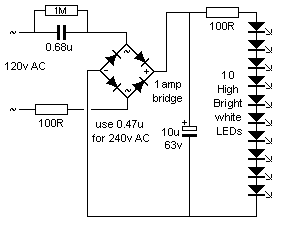
Rangkaian ini akan menyalakan suatu kolom yang terdiri dari 10 LED putih. Kapasitor 10uF berfungsi untuk mencegah kejutan listrik dan resistor 100R juga mengurangi kejutan listrik (memungkinkan kapasitor 10uF untuk mengisi muatan sedikit lebih tinggi dan energi tambahan ini dikirim ke LED selama masing-masing bagian yang rendah dari siklus AC.) Sirkuit ini diklasifikasikan sebagai GENERATOR ARUS KONSTAN atau RANGKAIAN ARUS KONSTAN.
Ini berarti setiap arus komponen yang ditempatkan pada output dari rangkaian akan melebihi 7mA jika nilai kapasitor sebesar 100n pada pasokan 240V atau 4,7 x 7mA = 33mA jika kapasitor sebesar 470n. Ini juga berlaku untuk arus-pendek pada output.
Jika tidak ada beban yang terhubung, tegangan output akan menjadi 230V x 1.4 = 320V dan jika tegangan beban 100V, arus output akan dikurangi menjadi sekitar 20mA. Jika tegangan output 200V, arus menjadi 10mA dan jika tegangan output 300v, arus menjadi 0mA. Dalam hal ini tegangan output akan menjadi sekitar 35V dan arus akan menjadi 30mA.
Jika tidak ada beban yang terhubung, tegangan output akan menjadi 230V x 1.4 = 320V dan jika tegangan beban 100V, arus output akan dikurangi menjadi sekitar 20mA. Jika tegangan output 200V, arus menjadi 10mA dan jika tegangan output 300v, arus menjadi 0mA. Dalam hal ini tegangan output akan menjadi sekitar 35V dan arus akan menjadi 30mA.
Source: talkingelectronics

0 Comment: